Cấu tạo xe nâng hàng Komatsu nói riêng và Xe nâng nói chung. Xe nâng hàng là một chiếc xe công nghiệp nhỏ, có càng nâng được điều khiển bằng thủy lực được gắn ở phía trước có thể được nâng lên và hạ xuống để nâng một khối lượng hàng hóa nhất định được gắn trên pallet. Xe nâng hàng phục vụ nhu cầu của các ngành công nghiệp khác nhau bao gồm nhà kho và các cơ sở lưu trữ hàng hóa lớn khác.

Cấu tạo xe nâng hàng Komatsu nói riêng và Xe nâng nói chung.
Xe nâng được sử dụng chủ yếu để vận chuyển hàng hóa nặng trên quãng đường dài với nhiều địa hình khác nhau. Nó hữu ích cho các dự án yêu cầu nhiều vật liệu ở nhiều nơi khác nhau và cắt giảm thời gian và công sức cần thiết để nâng, mang và vận chuyển.
Xe nâng hàng: Như chúng ta đã được biết tới sự hữu dụng và tính đa năng của xe nâng hàng rồi. Hôm nay hãy cùng XE NÂNG HÀNG KOMATSU nghiên cứu và tìm hiểu các tính năng và cấu tạo của loại xe nâng này.
Mô hình cấu tạo chung

Tổng quan cấu tạo:
Như trên hình ta có thể thấy được cấu tạo chung của xe nâng hàng gồm những phần chính như sau :
1. Thứ nhất: Giá nâng hàng .
Giá nâng hàng được cấu tạo bởi hai tấm thép uốn hình chữ nhật vát dần đầu về dàn nâng với độ dày tấm là 5mm. Giá nâng hàng được di chuyển lên xuống nhờ lực kéo của xích, kéo giá trượt theo ranh của thanh đỡ giá nâng. Do trọng tải nâng lớn nên giá nâng hàng phải đảm bảo độ cứng vững trong suốt quá trình nâng hạ cũng như khi xe di chuyển.
2. Thứ 2: Xi lanh để điều khiển nâng hạ
Tác dụng tạo ra lực nâng nhờ hệ thống truyền lực qua bộ phận xích kéo giá nâng hàng lên. do đó xilanh này phải được thiết kế để đảm bảo độ cứng vững và đủ áp suất để thắng được trọng lượng của hàng hoá.
3. Thứ 3: Xi lanh điều khiển góc nghiêng cho giá. Để linh động trong quá trình xe nâng hàng hoạt động
Để việc bốc xếp hàng được thuận tiện, người ta bố trí thêm hai xilanh lực hai bên, một đầu gắn vào thân thanh đỡ giá nâng hàng và một đầu gắn vào khung xe. Hai xilanh lực này có tác dụng điều khiển độ nghiêng của giá nâng hàng nên xilanh lực ở đây dùng xilanh lực hai chiều.
4. Thứ 4: Càng nâng để đặt hàng hóa vào. Càng nâng hàng có kết cấu hình chữ U vật liệu là thép, càng nâng còn có bộ phận cố định thanh đỡ với đầu trên của xilanh để khi pitông đi lên kéo theo đầu trên xilanh đi lên và thanh đỡ trong cũng được nâng lên trượt trên thanh đỡ cố định.
5. Thứ 5: Đối trọng. Giúp xe nâng hàng cân bằng khi nâng. Xích tải có nhiệm vụ tạo lực kéo để nâng hạ hàng hoá đồng thời cũng là một cơ cấu an toàn trong quá trình nâng hạ, việc cố định hàng ở một vị trí nào đó trong khi nâng hạ được điều khiển bằng dòng chất lỏng và có đình bằng cơ cấu cóc hãm. kích thích xích tải tuỳ thuộc vào trọngt ải của cần treo.
Ở trên ta được biết cấu tạo chung, sau đây chúng ta sẽ đi vào nghiên cứu sâu hơn một chút về cơ chế nâng hàng của loại xe nâng này như thế nào?
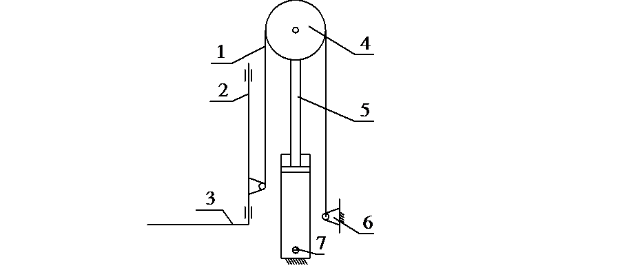
Đầu tiên ta tìm hiểu cơ cấu nâng hàng

Cấu tạo :
1. Xích nâng
2. Thanh đỡ giá nâng
3. Giá nâng hàng
4. Chốt piston
5. Cần piston
6. Khung xe
7. Lỗ dầu vào
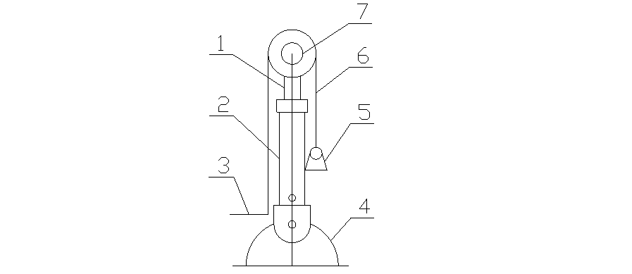
Tiếp theo là sơ đồ kết cấu cơ cấu nâng hàng
Cấu tạo:
- Piston. 5. Giá đỡ.
- Vỏ xilanh lực. 6. Xích tải.
- Hàng hoá. 7. Đầu piston và con lăn xích tải.
- Chốt piston.

Sơ đồ kết cấu nâng hàng
Cấu tạo chung của các xe nâng hàng đều dựa trên những nguyên tắc chung. Tuy nhiên đối với mỗi loại xe khác nhau có thể tùy chỉnh kết cấu của nó có thể bổ sung thêm xilanh để có hệ thống nén lực lớn hơn để có thể nâng đỡ những trọng tải hàng hóa lơn.
Cám ơn các bạn đã đọc những chia sẻ của chúng tôi. Mọi thắc mắc hay quan tâm về sản phẩm xe nâng hàng có thể vui lòng liên hệ với chúng tôi theo số H
Xe nâng Nhật bãi Phúc Lâm
- Miền Bắc: 331 Nguyễn Bình – Dương Xá – Gia Lâm – Hà Nội
- Miền Nam: 188 Tổ 2, KP Tân Ba, Phường Tân Đông Hiệp, TP. HCM
- Bãi Xe: Số 20, Ngõ 323 Nguyễn Bình, Dương Xá, Gia Lâm, Hà Nội
- Email: thietbiphuclam@gmail.com
để biết thêm nhiều thông tin chi tiết và được tư vấn tốt nhất.
Bình luận